最新资讯
车主都在看
- •学车手脚不协调的解决办法 11-15
- •车牌号码什么尾数比较好 11-15
- •2017异地车辆年检最新规定 11-15
- •绍兴考驾照要多少钱 绍兴学车哪家好 11-15
- •最常见的开车坏习惯有哪些 11-15
- •科目二坡道起步如何稳住离合器 11-15
- •倒车入库怎么修方向 11-15
- •闯红灯多久可以查到2017 11-15
全国[切换]
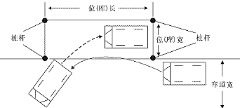
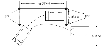
侧方位停车,说难也不难,但是作为初学者,一方面要打方向盘、一方面要控制离合,再加上考试紧张等原因,往往不能正确操作,有的还会出现熄火现象。今天跟大家说说科目二侧方位停车该怎么控制车速的问题。
无法控制车速的原因
1、手脚联动配合不好
在“打方向”与“踩离合”同时进行的时候,存在“顾上不顾下”的情况。就是说:在打方向时,注意力集中在了手上,没有兼顾脚上(离合)―――离合那边松了,因而车速变快了。
侧方位停车熄火的过程一般都是在这样的情况下出现的:离合太高了车速过快时,向下压一点离合,结果往往压得稍多了一点,车子不走了,又再一抬离合的时候就熄火了。


2、离合的 “高低”掌控
通过离合控制车速,就是要根据行车阻力的大小、动态掌控离合的高低,以使车速尽量保持平稳。
为达到平稳车速的目的,离合的高低必须是 “变动”的,特别强调:不存在找到某一 “控制点” 后,只要保持 “高低不动”,就能达到 “平稳车速” 的目的(这与在“坡起” 时找“半联动点” 是两码事)。
控制车速的技巧
1、首先要明确一点:考侧方位停车的过程中,车可以在中途稍有停顿,但是不能够熄火。此外,要想车子顺利入位,车速一定要够慢。
2、当我们的离合太高了车速过快时,向下压一点离合,如果压得稍多了一点,出现车子不走了的情况时,千万要记住,这个时候不能够继续向上抬离合,要一脚再将离合踩到底,再重新慢慢抬起,车子肯定就绝对不会熄火,也就会得到我们想要的车速了。
3、离合高低的把控应视行车阻力大小而定,阻力大时离合要高,阻力小时离合要低。不仅侧方位停车如此,在直角转弯前,驾考全攻略提示应提前适当提高点车速,目的是以车子的惯性来抵消在直角处因迅速打满方向所带来的突增行车阻力;若不提前准备点 “速度”、车速较慢,则发动机可能会因一时动力跟不上而熄火。